Vòi Lavabo INAX LFV-8000S Nóng Lạnh được phân phối chính hãng tại Khánh Trang Home, giao hàng và lắp đặt miễn phí TP.HCM, bảo hành chính hãng, bảo trì nhanh tận nhà trong 2 giờ.

Một sản phẩm được thiết kế và sáng tạo bởi thiết bị vệ sinh INAX. Vòi lavabo inax LFV-8000S được sản xuất với hai chế độ nóng lạnh dễ sử dụng. Với thiết kế chiều cao hợp lí, tương thích với hầu hết chậu rửa mặt. Sản phẩm này được nhiều khách hàng chọn lựa. Một ưu điểm khác chính là cấu tạo độc đáo hạn chế việc văng nước ra sàn, dòng nước chảy êm, tơi. Hãy cũng tìm hiểu thêm dưới đây nhé
Thông số kỹ thuật Vòi Lavabo Inax LFV-8000S Nóng Lạnh
– Vòi lavabo nóng lạnh INAX LFV-8000S dùng cho chậu 1 lỗ (FC) đến từ thương hiệu thiết bị vệ sinh INAX
– Áp lực nước : 0.05 MPa ~ 0.75 MPa
– Đi kèm vòi chậu là một trụ xả gạt ty dễ sử dụng và vệ sinh. Ngoài ra còn có thêm hai dây cấp nóng và lạnh mỗi sợi dài 40cm. Không đi kèm co thải chữ p, nên khách hàng cũng cần lưu ý điều này khi chọn mua
Tính năng Vòi Lavabo Inax LFV-8000S Nóng Lạnh
INAX Eco Click Tay gạt có điểm dừng hai mức độ điều chỉnh lưu lượng nước (50% & 100%) giúp tiết kiệm nước dễ dàng hơn.
INAX Inner Excellence Lõi sen vòi có hai đĩa sứ điều nhiệt họat động trơn chu, linh phụ kiện độ bền cao cho sen vòi luôn bên bỉ.
INAX Dura Care Thân vòi đúc đồng, giảm thiểu tạp chất chì và kim loại nặng theo tiêu chuẩn Nhật Bản nên sản phẩm chắc nặng, bền bỉ và tốt cho sức khỏe.
INAX Ecoful Shower Sử dụng kỹ thuật phun nước bằng cánh quạt bên trong tạo ra hạt nước lớn hơn trộn lẫn không khí, giúp tiết kiệm nước và năng lượng khi sử dụng
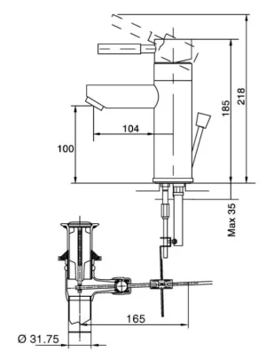
Bản vẽ kỹ thuật Vòi Lavabo Inax LFV-8000S Nóng Lạnh

Hotline: 091 9999 516 Mr Thịnh – 098 6666 516 Ms Vân
Địa chỉ 5A đường số 5, Kp4, P An Phú, Quận 2, HCM

Vòi Lavabo CAESAR B200CP Nóng Lạnh Xả Ty 



Đánh giá
Chưa có đánh giá nào.